電動調節蝶閥

- 銷售:021-32051999
- 銷售:021-32050777
- 傳真:021-66099555
詳情介紹
- 產品介紹
- 服務承諾
- 訂貨流程
電動調節蝶閥以220V AC電源為動力,接受0~10mA或4~20mA標準信號,驅使閥門開度與此操作信號相對應,達到調節介質壓力、流量、溫度之目的,結構簡單,操作方便。閥板為橢圓斜關結構,泄漏量小。適用于大口徑、大流量場合。由于有自清洗作用,所以特別適用于通風系統和含有懸浮顆粒介質的調節。
該蝶閥與電動執行機構配套使用,能對冶金、電力、石化、輕仿、建材、環保工業管路中各種液體、氣體、塵氣、煙氣等介質通過不同的控制信號改變流量大小,從而實現工業過程的自動調節和遠距離控制。
電動調節蝶閥 主要技術參數
公稱通徑mm | 50 | 80 | 100 | 125 | 150 | 200 | 250 | 300 | 350 | 400 | 450 | 500 | 600 | 700 | 800 | 900 | 1000 |
額定流量系數Kv | 85 | 220 | 340 | 530 | 770 | 1360 | 2310 | 3060 | 4160 | 5450 | 6900 | 8500 | 12200 | 16600 | 21700 | 27100 | 34000 |
公稱壓力MPa | 0.1 | ||||||||||||||||
允許壓差MPa | 0.6 | 0.5 | 0.25 | 0.14 | 0.06 | 0.032 | 0.046 | 0.029 | 0.02 | 0.033 | 0.024 | 0.014 | 0.009 | 0.016 | 0.011 | 0.008 | |
閥板轉角 | 0~70° | ||||||||||||||||
流量特性 | 近似等百分比 | ||||||||||||||||
閥頸型式 | 普通式(常溫型);熱片式(中溫型) | ||||||||||||||||
介質溫度℃ | 鑄鐵:-20~+200;鑄鋼:-40~+250(常溫型); -40~+450(中溫型) | ||||||||||||||||
法蘭標準 | 法蘭連接:JB81-59 |
注:1. 表列許用壓差為閥板70°全開時的值,小于70°使用時,△P為會提高。
2. 如欲高于表列許用壓差可選配大一檔執行機構。
電動調節蝶閥 性能指標
項目 | 指標值 | 項目 | 指標值 |
基本誤差% | ≤±3.5 | 始終點偏差% | ≤±3.0 |
回差% | ≤3.0 | 額定轉角偏差% | ≤±3 |
死區% | ≤3.0 | 允許泄漏量L/h | 0.5%×閥額定容量 |
電動調節蝶閥 主要零件材料
閥體、閥板 | 不銹鋼SUS304 | -250~+550℃ |
閥桿 | 不銹鋼SUS316L | |
填料 | 柔性石墨 | -200~+600℃ |
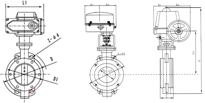
電動調節蝶閥 主要外形尺寸
公稱通經(DN) | 主要尺寸 | 法蘭尺寸 | |||||||||||||
L | L1/L2 | H | H1 | A | 1.0MPa | 1.6MPa | 2.5MPa | ||||||||
硬密封 | 軟密封 | D | D1 | n-Фd | D | D1 | n-Фd | D | D1 | n-Фd | |||||
50 | 108 | 43 | 112 | 63 | 625 | 245 | 165 | 125 | 4-18 | 165 | 125 | 4-18 | 165 | 125 | 4-18 |
65 | 112 | 46 | 115 | 70 | 625 | 245 | 185 | 145 | 4-18 | 185 | 145 | 4-18 | 185 | 145 | 8-18 |
80 | 114 | 46 | 120 | 83 | 645 | 245 | 200 | 160 | 4-18 | 200 | 160 | 8-18 | 200 | 160 | 8-18 |
100 | 127 | 52 | 138 | 105 | 675 | 355 | 220 | 180 | 8-18 | 220 | 180 | 8-18 | 235 | 190 | 8-22 |
125 | 140 | 56 | 164 | 115 | 715 | 355 | 250 | 210 | 8-18 | 250 | 210 | 8-18 | 270 | 220 | 8-26 |
150 | 140 | 56 | 175 | 137 | 800 | 355 | 285 | 240 | 8-22 | 285 | 240 | 8-22 | 300 | 250 | 8-26 |
200 | 152 | 60 | 200 | 164 | 850 | 250 | 340 | 295 | 8-22 | 340 | 295 | 12-22 | 360 | 310 | 12-26 |
250 | 165 | 68 | 243 | 206 | 925 | 250 | 395 | 350 | 12-22 | 405 | 355 | 12-26 | 425 | 370 | 12-30 |
300 | 178 | 78 | 250 | 230 | 1035 | 450 | 445 | 400 | 12-22 | 460 | 410 | 12-26 | 485 | 430 | 16-30 |
350 | 190 | 78 | 280 | 248 | 1070 | 450 | 505 | 460 | 16-22 | 520 | 470 | 12-26 | 555 | 490 | 16-33 |
400 | 216 | 102 | 305 | 289 | 1190 | 450 | 565 | 515 | 16-26 | 580 | 525 | 16-26 | 620 | 550 | 16-36 |
450 | 222 | 114 | 350 | 320 | 1250 | 650 | 615 | 565 | 20-26 | 640 | 585 | 16-30 | 670 | 600 | 20-36 |
500 | 229 | 127 | 380 | 343 | 1290 | 650 | 670 | 620 | 20-26 | 715 | 650 | 20-30 | 730 | 660 | 20-36 |
600 | 267 | 154 | 445 | 413 | 1455 | 850 | 780 | 725 | 20-30 | 840 | 770 | 20-33 | 845 | 770 | 20-39 |
700 | 292 | 165 | 480 | 478 | 1585 | 850 | 895 | 840 | 24-30 | 910 | 840 | 24-36 | 960 | 875 | 24-42 |
800 | 318 | 190 | 530 | 525 | 1700 | 1250 | 1015 | 950 | 24-33 | 1025 | 950 | 24-39 | 1085 | 990 | 24-48 |
900 | 330 | 203 | 580 | 585 | 1965 | 1250 | 1115 | 1050 | 28-33 | 1125 | 1050 | 28-39 | 1185 | 1090 | 28-48 |
1000 | 410 | 216 | 650 | 640 | 2015 | 1250 | 1230 | 1160 | 28-36 | 1255 | 1170 | 28-42 | 1320 | 1210 | 28-56 |
1200 | 470 | 254 | 760 | 755 | 2250 | 1250 | 1455 | 1380 | 32-39 | 1485 | 1390 | 32-48 | 1530 | 1420 | 32-56 |
良好的品質、優良的服務 奇高為你創造更多價值!
“奇高閥門”的期望,不斷提升服務質量,精益求精,“真誠的服務”是“奇高”永恒的主題?!捌娓摺眹栏癜凑?span lang="EN-US">IS09001-2000 質量體系認證要求,質量嚴格把關, 責任到人,確保生產、銷售、服務的健康運行。加強與用戶溝通,竭誠為廣大客戶提供優良產品,貼心服務。特此我廠做出以下承諾:
產品標準:
產品嚴格按照中國GB、HG 標準和美國API等標準設計、制造、驗收。密封面硬度達到國家規定要求,寬度超過國家標準。
售前服務:
產品介紹,技術交流,非標產品設計,疑難解答。
售中服務:
守信合同,及時供貨,隨時保持與客戶聯系。 對特殊或復制的產品,我廠安排技術人員對用戶進行產品使用、故障排除
售后服務:
1、“奇高”牌產品品質期為自出廠起12個月,實行“三包”服務(包退、包換、保修)。
2、產品在使用中我廠定期組織技術、質檢人員進行訪問,征詢用戶對產品質量、 使用狀況、改進意見等方面的反饋, 以便進一步提高產品質量。
3、對用戶投訴質量問題,快速作出反應,售后服務人員在24-36小時(省外48小時)趕赴現場。
4、對售后服務,要求用戶填寫服務后的質量反饋信息表,并作出鑒定意見,以便提高奇高的服務質量。
1、客戶如對產品有特殊要求,須在訂貨合同中提供以下說明:
a、結構長度;
b、連接形式;
c、公稱直徑、全通徑、縮徑、管道尺寸;
d、運行介質及溫度、壓力范圍;
e、試驗、檢驗標準及其他要求
2、本廠可根據客戶特定要求配置各類驅動裝置。
3、如由客戶提供確定的閥門類型和型號時,客戶應正確說明其型號的含義和要求,在供需雙方理解一致的條件下簽訂合同。
4、期貨、訂貨的客戶請先來電函詳細告訴所需的閥門型號、規格、數量以及交貨時間、地點,并按總的30%預定金或全額貨款及時匯入我廠帳戶,其余貨款待發貨前匯入,以便及時安排發貨。
訂單流程:
1、客戶采購清單傳真至021-33872143,或來電咨詢 021-33872141
2、收到客戶采購清單,為客戶提供閥門型號選型與報價(價格清單)。
3、具體商定:交貨期、特殊要求等事宜。
訂貨須知:
1、客戶如對產品有特殊要求,須在訂貨合同中提供以下說明:
|
|||||
|
|||||
2、本廠可根據客戶特定要求配置各類驅動裝置。
|
|||||
3、如由客戶提供確定的閥門類型和型號時,客戶應正確說明其型號的含義和要求,在供需雙方理解一致的條件下簽訂合同。
|
|||||
4、期貨、訂貨的客戶請先來電函詳細告訴所需的閥門型號、規格、數量以及交貨時間、地點,并按總的30%預定金或全額貨款及時匯入我廠賬戶, 其余貨款待發貨前匯入,以便及時安排發貨。
|
售中服務:
守信合同,及時供貨,隨時保持與客戶聯系。
對特殊或復制的產品,我廠安排技術人員對用戶進行產品使用、故障排除
售后服務:
1、“奇高”產品品質期為自出廠起12個月,實行“三包”服務(包退、包換、保修)。
2、產品在使用中我廠定期組織技術、質檢人員進行訪問,征詢用戶對產品質量、使用狀況、改進意見等方面的反饋,
以便進一步提高產品質量。
3、對用戶投訴質量問題,快速作出反應,售后服務人員在24-36小時(省外48小時)趕赴現場。
4、對售后服務,要求用戶填寫服務后的質量反饋信息表,并作出鑒定意見,以便提高“奇高”的服務質量。
聲明 |
|