ZAZQ(X)電動三通調節閥

- 銷售:021-32051999
- 銷售:021-32050777
- 傳真:021-66099555
詳情介紹
- 產品介紹
- 服務承諾
- 訂貨流程
ZAZQ電動三通合流調節閥/ZAZX電動三通分流調節閥有合流和分流二種型式,由DKZ電動執行機構和三通合流或三通分流調節閥組成,以電源為動力,接受統一的標準信號0~10mA DC或4-20mA Dc驅使閥門開度與此操作信號相對應。合流閥的作用是將一種流體分成兩路流體。分流合流閥只能對應選用,但當DN≤80時,合流閥可用于分流場合。可替代兩臺單、雙座調節閥,節省投資,占據空間小。三通調節閥通常用于熱交換器的兩種介質調節,及簡單的配比調節。
電動三通調節閥 主要技術參數
公稱通徑mm | 合流 | 25 | 32 | 40 | 50 | 65 | 80 | 100 | 125 | 150 | 200 | 250 | 300 |
分流 | 80 | 100 | 125 | 150 | 200 | 250 | 300 | ||||||
額定流量系數Kv | 合流 | 8.5 | 13 | 21 | 34 | 52 | 85 | 135 | 210 | 340 | 535 | 800 | 1260 |
分流 | 85 | 135 | 210 | 340 | 535 | 800 | 1260 | ||||||
公稱壓力 MPa | 1.6 4.0 6.0 | ||||||||||||
流量特性 | 直線 | ||||||||||||
執 | Ⅱ型 | DKZ-310 | DKZ-310 | DKZ-410 | DKZ-510 | DKZ-510 | |||||||
Ⅲ型 | DKZ-510C | DKZ-310C | DKZ-410C | DKZ-510C | DKZ-510C | ||||||||
出軸推力(N) | 4000 | 4000 | 6400 | 16000 | 16000 | ||||||||
行程mm | 16 | 25 | 40 | 60 | 100 | ||||||||
上閥蓋型式 | 1.6 | 1.0 | 2.5 | 1.6 | 1.5 | 1.0 | 0.65 | 0.4 | 0.3 | 0.16 | 0.26 | 0.18 | |
允許壓差(MPa) | 普通式(常溫型),熱片式(中溫型) | ||||||||||||
介質溫度℃ | -40~230℃(常溫型),散熱片式230~450℃(中溫型),特殊訂貨-100~600℃ | ||||||||||||
可調比 | 30:1 | ||||||||||||
法蘭標準 | 鑄鐵按JB78-59,鑄鋼按JB79-59 | ||||||||||||
輸入阻抗 | Ⅱ型:200 Ⅲ型:250 | ||||||||||||
出廠狀態 | 電開(對上閥座而言),如需電關,訂貨時應注明 |
電動三通調節閥 性能指標
項目 | 指標值 | |
基本誤差% | ≤±3.5 | |
回差% | ≤2.5 | |
死區% | ≤3.0 | |
始終點偏差% | 電開、電關 | ±2.5 |
±2.5 | ||
允許泄量L/H | 符合JB/T7387-94Ⅲ 級 小于閥的額定容量×10-3 |
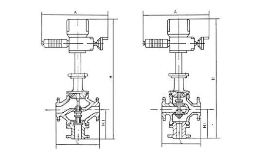
電動三通調節閥 主要外形尺寸
公稱 | A | L | H | H1 | |||||||||||
分流 | 合流 | PN1.6 | PN4.0 | PN6.4 | 分流 | 合流 | PN1.6 | PN4.0 | PN6.4 | PN1.6 | PN4.0 | PN6.4 | |||
普通型 | 熱片型 | 普通型 | 熱片型 | ||||||||||||
25 | 520 | 490 | 185 | 190 | 200 | 715 | 865 | 140 | 150 | 160 | |||||
32 | 520 | 490 | 200 | 210 | 210 | 721 | 871 | 150 | 160 | 170 | |||||
40 | 520 | 490 | 220 | 230 | 235 | 733 | 883 | 160 | 170 | 180 | |||||
50 | 520 | 490 | 250 | 255 | 265 | 748 | 898 | 180 | 190 | 200 | |||||
65 | 520 | 520 | 275 | 285 | 295 | 839 | 999 | 200 | 220 | 220 | |||||
80 | 520 | 520 | 305 | 310 | 320 | 872 | 1032 | 842 | 1002 | 225 | 250 | 265 | 210 | 230 | 240 |
100 | 520 | 520 | 350 | 355 | 370 | 896 | 1056 | 846 | 1006 | 245 | 275 | 285 | 220 | 250 | 260 |
125 | 520 | 520 | 410 | 425 | 440 | 947 | 1162 | 897 | 1112 | 284 | 320 | 325 | 260 | 300 | 300 |
150 | 520 | 520 | 450 | 460 | 475 | 947 | 1162 | 897 | 1112 | 305 | 340 | 340 | 280 | 320 | 320 |
200 | 520 | 520 | 550 | 560 | 570 | 965 | 1180 | 905 | 1120 | 350 | 400 | 410 | 320 | 380 | 380 |
250 | 520 | 520 | 670 | 740 | 750 | ||||||||||
300 | 520 | 520 | 770 | 805 | 820 |
良好的品質、優良的服務 奇高為你創造更多價值!
“奇高閥門”的期望,不斷提升服務質量,精益求精,“真誠的服務”是“奇高”永恒的主題。“奇高”嚴格按照IS09001-2000 質量體系認證要求,質量嚴格把關, 責任到人,確保生產、銷售、服務的健康運行。加強與用戶溝通,竭誠為廣大客戶提供優良產品,貼心服務。特此我廠做出以下承諾:
產品標準:
產品嚴格按照中國GB、HG 標準和美國API等標準設計、制造、驗收。密封面硬度達到國家規定要求,寬度超過國家標準。
售前服務:
產品介紹,技術交流,非標產品設計,疑難解答。
售中服務:
守信合同,及時供貨,隨時保持與客戶聯系。 對特殊或復制的產品,我廠安排技術人員對用戶進行產品使用、故障排除
售后服務:
1、“奇高”牌產品品質期為自出廠起12個月,實行“三包”服務(包退、包換、保修)。
2、產品在使用中我廠定期組織技術、質檢人員進行訪問,征詢用戶對產品質量、 使用狀況、改進意見等方面的反饋, 以便進一步提高產品質量。
3、對用戶投訴質量問題,快速作出反應,售后服務人員在24-36小時(省外48小時)趕赴現場。
4、對售后服務,要求用戶填寫服務后的質量反饋信息表,并作出鑒定意見,以便提高奇高的服務質量。
1、客戶如對產品有特殊要求,須在訂貨合同中提供以下說明:
a、結構長度;
b、連接形式;
c、公稱直徑、全通徑、縮徑、管道尺寸;
d、運行介質及溫度、壓力范圍;
e、試驗、檢驗標準及其他要求
2、本廠可根據客戶特定要求配置各類驅動裝置。
3、如由客戶提供確定的閥門類型和型號時,客戶應正確說明其型號的含義和要求,在供需雙方理解一致的條件下簽訂合同。
4、期貨、訂貨的客戶請先來電函詳細告訴所需的閥門型號、規格、數量以及交貨時間、地點,并按總的30%預定金或全額貨款及時匯入我廠帳戶,其余貨款待發貨前匯入,以便及時安排發貨。
訂單流程:
1、客戶采購清單傳真至021-33872143,或來電咨詢 021-33872141
2、收到客戶采購清單,為客戶提供閥門型號選型與報價(價格清單)。
3、具體商定:交貨期、特殊要求等事宜。
訂貨須知:
1、客戶如對產品有特殊要求,須在訂貨合同中提供以下說明:
|
|||||
|
|||||
2、本廠可根據客戶特定要求配置各類驅動裝置。
|
|||||
3、如由客戶提供確定的閥門類型和型號時,客戶應正確說明其型號的含義和要求,在供需雙方理解一致的條件下簽訂合同。
|
|||||
4、期貨、訂貨的客戶請先來電函詳細告訴所需的閥門型號、規格、數量以及交貨時間、地點,并按總的30%預定金或全額貨款及時匯入我廠賬戶, 其余貨款待發貨前匯入,以便及時安排發貨。
|
售中服務:
守信合同,及時供貨,隨時保持與客戶聯系。
對特殊或復制的產品,我廠安排技術人員對用戶進行產品使用、故障排除
售后服務:
1、“奇高”產品品質期為自出廠起12個月,實行“三包”服務(包退、包換、保修)。
2、產品在使用中我廠定期組織技術、質檢人員進行訪問,征詢用戶對產品質量、使用狀況、改進意見等方面的反饋,
以便進一步提高產品質量。
3、對用戶投訴質量問題,快速作出反應,售后服務人員在24-36小時(省外48小時)趕赴現場。
4、對售后服務,要求用戶填寫服務后的質量反饋信息表,并作出鑒定意見,以便提高“奇高”的服務質量。
聲明 |
|